matei.info.ro
Matematică și informatică Construcții și geotehnică Limba și literatura română
Religie și psihologie Lista paginilor Despre sait / Contact
Pilot solicitat axial | Calcul secțiune beton 1 | Calcul secțiune beton 2 | Calcul tasare | Calcul perete îngropat
2024-03-09
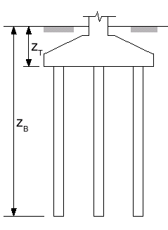
Calculul capacității portante a unui pilot solicitat axial, conform NP 123
 
JavaScript nu funcționează.

 
JavaScript nu funcționează.

 
zT = m
 
zB = m
 
Nivelul apei: m
 
Nr. de straturi:
 
Parametrii straturilor geologice, valori caracteristice
z, IP, IC (ID), γ (kN/m3), e, Eoed (kPa), φ' (o), c' (kPa), cu (kPa) (/):
 
 (rezultatele se afișează mai jos)
 
 

© 2024 Matei. No cookies®